电动葫芦电控溜车的经验
编辑:大力起重机械 浏览:10555 时间:2016-06-15
铸造车间造型工部在使用电动葫芦时,抖动的很厉害,特别是较大的砂型在合箱时,常因下降速度较快和发生抖动的现象,而造成塌箱事故,严重影响铸件产量的提高,还经常发生手指被挤坏的安全事故。
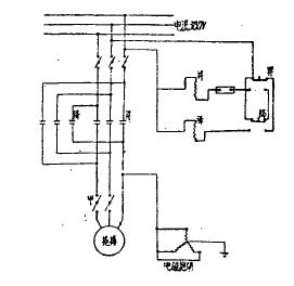
原因是:电葫芦卷筒在卷钢丝绳时,不在中心位置。同时由于马达扭力大,故电葫芦本身发生摆动。更由于马达和电磁制动器同时动作,所以产生振动现象。这种现象对卷扬上升影响不大,但对下降特别是合箱时,就有上述问题发生。
由于吊钩下降合箱时要稳,因此我们考虑在合箱时,卷筒马达不通电,只开制动器,这样当制动器被吸起来时,吊钩即靠所掉物件的重量下降,稳稳的溜下,从而满足使用要求。同时也应考虑到吊钩在卷扬时,或一般情况下降时,马达和制动器必须能同时通电。为此,设计出附图所示的线路图,在卷扬马达的线路上,装一开关甲,只装开闭两相电源,另把原为三相星接的制动器改为单相对地,零线要牢固的接在加胶皮线的铁线上,这样吊钩上升或下降时,将开关甲闭合,马达及制动器即可同时通电和动作。为了保证合箱时吊钩能稳稳地下降,可先将开关甲打开,再按下降电钮,这样制动器通电井将抱闸吸起;吊钩即可靠吊物的重量而自由的的稳稳的溜下。
通过这样改进以后,经过试用,效果很好,造型师傅特别满意,不但保证了铸件质量,相对的也提高了产量。

上一条: 数吨重叉车深夜不翼而飞?
下一条: 环链电动葫芦提升速度高可达多少?