一种简单实用的吊装小工具

编辑:大力起重机械    浏览:16507    时间:2016-08-12

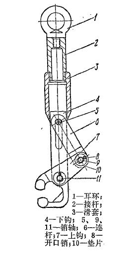
  我厂有些车间的生产线采用了如图所示吊装工具。此吊装工具结构简单、制造容易、使用方便灵活,深受工人欢迎。特别是吊装七棱八角的零件(十几公斤左右),更体现其优越性。

在机械加工中,里也是重要的问题,特别是中型零件,灵活地吊装,既可以缩短辅助时间,提高劳动生产率,又可以大大减轻工人的体力劳动。

我厂有些车间的生产线采用了如图所示吊装工具。此吊装工具结构简单、制造容易、使用方便灵活,深受工人欢迎。特别是吊装七棱八角的零件(十几公斤左右),更体现其优越性。

使用时吊环1钩挂在专用吊装设备上(如电葫芦、气缸等),滑套3以其孔的长方形槽与下钩4配合,当下钩或上钩接触到零件时,下钩沿长槽上移,并带动连杆6绕销轴5转动(销轴5固定在滑套3上),上钩7绕销轴9转动。于是上、下钩张开,并把零件夹住,此时开动吊装设备,吊钩抬起,下钩4下落,上钩7迴转,夹紧工件。

吊钩夹紧部件的形状、大小,可根据工件形状、大小具体情况进行设计。

一种新型小吊装工具

上一条: 论环链电动葫芦的正确保养的重要性

下一条: 解决电动葫芦抖动我有妙招

其他新闻:

相关产品: